振动筛12年生产厂家
过滤,除杂,分级

石英砂是一种坚硬、耐磨、化学性能稳定的硅酸盐矿物,石英砂是石英石经破碎加工而成的石英颗粒。 石英砂的颜色为乳白色、或无色半透明状,硬度7,性脆无解理,贝壳状断口,油脂光泽,密度为2.65,堆积密度(1-20目为1.6),20-200目为1.5。石英砂生产流程中要使用振动筛分设备进行石英砂的分级筛选。

石英砂振动筛常用规格有:0.5-1mm、1-2mm、2-4mm、4-8mm、8-16mm、16-32mm、10-20目、20-40目、40-80目、100-120目。大汉振动筛厂家客户使用的直径1500型三层振动筛在石英砂行业广泛应用,筛分产量大,效率高。

石英砂振动筛的特点:
1.效率高、产量大、设计精巧耐用。
2.换网容易、操作简单、清洗方便。
3.网孔不堵塞、粉末不飞扬。
4.杂质、粗料自动排出,可以连续作业。
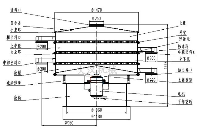
石英砂振动筛外形结构和技术参数:


石英砂振动筛的工作原理:
石英砂分级振动筛由直立式振动电机作为激振源,电机上、下两端安装有偏心重锤,将电机的旋转运动转变为水平、垂直、倾斜的三次元运动,再把这个运动传递给筛面进行筛分。调节上、下两端的相位角,可以改变物料在筛面上的运动轨迹。大汉振动筛厂家可根据客户需求设计特殊型号,无论物料是干是湿,是精细是粗糙,是比重大是比重轻,0-400目都可以筛选,不管是液态,还是浆状的0-600目都可以过滤。大汉振动筛系列产品同时配备专门的筛网清理装置,把堵网率降到低,过网率和处理精度得以有效提高。大汉机械具备特殊型号制造的能力让顾客有更多的选择。
